Online od roku 2006 – Overené skúsenosti
Viac než 100.000 produktov – Široký sortiment
Dodanie z vlastného skladu – Rýchle doručenie
Bezplatná doprava od 150 €

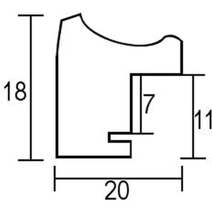
Efektný drevený rám profil 2070 normálne sklo 25x60 cm biely

Elegantná lišta z masívneho dreva s uzavretým povrchom, drevený rám so štandardným sklom
Farba 
Typ skla 
Formát rámu 

75,40 €
ink. 23% DPH , plus prepravné náklady